
意料之外。
大多数人可能都不知道,路测里程已经绕地球一圈,被寄望于颠覆世界,即将投入商业运营的Google无人车(Waymo),现在连家门口的转弯都搞不定。
顶着谷人希的巨大光环,The Information在Waymo展开大规模运营的凤凰城展开实地调查,还原了无人车世界的真实面貌。
在现实世界中,上路行驶的Google无人车,给当地的人类司机带来很多意想不到的烦恼,甚至引发出无处宣泄的路怒。
那些频繁遇到Waymo的人,异口同声的说了一句话:“我恨Google无人车。”

Waymo让人类司机抓狂
和无人车一起并肩上路,可能并不是一件美好的事情。
这是五个真实的故事。
1、丁字路口左转不能
距离Waymo凤凰城总部最近的丁字路口,每隔几分钟就会有Waymo无人车经过,或左转或右转,有时一次来好几辆。
在这个没有信号灯的丁字路欧左转时,Waymo无人车时常遇到麻烦,找不到机会并线切入正常行驶中的车流。这条路的限速约70公里/小时。

人类司机很容易完成的左转,Waymo无人车要等待很久,这让排在它后面的人类司机非常心烦。
2、右转也不能
右转通常不是问题。
但并不是没有问题。也是在这个丁字路口,一位女士驾驶Jeep在这个路口准备左转,而对面相向行驶的Waymo无人车正在右转。
这本来是个很简单的操作。没想到前面右转的Waymo无人车,转到一半突然停在路口不动了。
“走啊!”女司机被Waymo的车辆卡在路口时生气的大喊。Waymo后面的车辆也纷纷停了下来。“我当时简直气得想杀人,”Lisa生气的说。

关键两辆车差点撞上,最后女车主无奈绕过Waymo无人车后继续向前。上图,黑色X就是Waymo无人车停下的地方,而黑色箭头示意了Jeep的路线。
3、并线老问题
找不到并线时机,是一个老问题了。
不久之前,推特用户Nitin Gupta就拍下了一段视频。当时一辆Waymo正进入高速,然而一直错过并线进入主路的机会,最后无奈径直驶入下高速的车道,只能有点“愚蠢”的离开高速公路。
4、占道行驶
凤凰城的东锦绣大街,双向双车道,但是没有施划车道标记。每次白色的Waymo无人车出现时,总是顶着黑色的传感器,行驶在这条马路的正中间。
这让路上行驶的其他车辆非常不舒服。

5、停车三秒
还有一件事也被拿出来说了一番。在每个有停止标志的地方,Waymo都会停车至少三秒钟。这是一个遵守交规的模范行为。
不过也有不少的美国司机,觉得Google无人车“太乖”了。
守规矩守到让人类司机抓狂。
一位当地的销售代表说,他已经受够了Waymo。他拒绝在中午一小时的午休时间中花时间等待Waymo的车做出下一步决定。如果他被Waymo的车堵在后面,他就会非法超车超过去。
The Information采访了当地一些频繁遇到Waymo车辆的居民——那些在Waymo车库附近办公的人,其中十几个人在被问到Waymo的时候回答了同样的一句话:
“我恨它们!”

安全至上,是对是错?
对于上述种种,Waymo回应时表示,“安全”是他们的首要任务,当然无人车也在不断的学习和提升自己的驾驶技术。
通常,Waymo无人车被编程为精确遵守所有的交通规则。据一位知情人士透露,Waymo内部也有过争论:是否应该模仿不严格遵守法律的人类驾驶员的行为。不过团队最终决定,还是是要做一个完美的司机。
哪怕看起来像个实习新手司机似的。
然而对于无人车来说,最大的问题是不遵守交通法规的人类司机或者行人。他们超速驾驶、不按要求停车让行、开车时玩手机等等。Waymo有时会以无法预料的方式作出回应,并导致人类驾驶员追尾。

而作为旁观者,感受又与当地居民不同。
“这些问题,没有任何一个是不能解决的,我不认为Waymo有什么大错,你不能在违法或者不安全的状况下驾车。有些人类司机的反应,就好像是路怒症上身。”Reddit用户@natha105说。
凤凰城是一个试验场,也许未来情绪化的人类驾驶员,会发现被越来越多的机器人司机包围,然后逐渐被机器人司机淘汰。没准未来机器的车技越来越好,反而人类司机驾车上路会受到限制。
用户@runvnc评价说:所有问题,都是风险和效率之间的平衡。在交通繁忙的路口,如果过于注重安全可能就会导致停在原地,而如果想不那么保守的驾驶,又有可能提高事故的发生率。

当然也有人站出来高呼:Google这么务实的公司也有人喷?马斯克那种夸张和极端的想法才危险好不好,他们两年前就说能搞出全自动驾驶。
景驰产品负责人Lei Ma也给出了一段业内人士的观点。
大意是:上面提到的Waymo进展,既让我感到鼓舞也让我感到沮丧。鼓舞是因为某些问题上,我们处理得更好。而沮丧是因为,即便在路况简单的郊区,即便10年研发之后,Waymo离L4仍然很远。
我认为更大的原因是,Waymo决定专注于更简单的驾驶环境,一边加快产品化的步伐。虽然这能带来更快的结果,但会留下很多非常棘手的问题。
我们的方法是首先解决更严峻的问题,这可能会放慢产品化的速度,但最终能带来更强的技术。想要在长跑中获胜,应该先走路再跑步,还是先跑步再走路?实现真正的自动驾驶还有很长的路要走,先发优势不见得靠得住。
苹果无人车考虑一下?
想跟Waymo一争高下的大有人在。
比如苹果公司。
最新的爆料称,就在Waymo展开大规模路测的凤凰城西面的Surprise,苹果公司建立了一个无人车测试场。
据超准的分析师郭明錤预计,苹果无人车最快将在2023年发布。
他表示,苹果能够利用因新技术推出而出现的汽车市场“潜在巨大换车需求”。他相信目前的汽车市场发生改变的时机已经成熟,很像iPhone发布前的智能机市场,“苹果将重新定义汽车,并实现与其他同行产品的差异化”。

郭明錤的预测一向很准,如果你以后还想继续购买全套苹果产品,现在真得认真考一下攒钱了。(有些城市的朋友还得想下摇号的事)
根据郭明錤的分析,无人车等新产品,将推动苹果公司的市值,从现在的1万亿美元,进一步翻番达到2万亿美元。
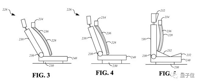
另外,最新曝光的专利表明,苹果的无人车计划,可能不只是改装改装现有车辆那么简单,这家公司可能正重拾造车计划。
这两个专利,涉及天窗和座椅。
第一个专利的名称是“非线性滑轨活动板”,这是一种天窗,可以用多个滑轨来滑动车顶上的活动板。

第二个专利名叫“动态座椅触觉反馈系统”。
这个系统包括几方面的功能。其一,座椅的高度、角度、坐垫的充放气、安全带的松紧程度等,都可以被电脑根据外部数据变化进行调节,保障车内用户安全。其二,通过座椅的轻微震动等方式,提醒思路注意路面情况。

这些只是苹果无人车专利最新曝光的两个。
今年8月,苹果提交的一份专利申请书描述了无人驾驶汽车如何告诉其他道路使用者它的意图。7月,苹果提交的另一份专利申请书则描述了车辆如何根据乘客的紧张程度来改变自己的驾驶风格。
三月,苹果无人车四个专利获批,包括:手势控制变道、车辆导流、路况感知及车辆控制等。