您的位置:首页 > 资讯 > 工业机器人 > 行业动态 > 正文

AGV 常见减震浮动结构对比分析

2020-06-02 11:10 性质:转载 作者:AGV吧 来源:AGV吧
免责声明:无人系统网(www.youuvs.com)尊重合法版权,反对侵权盗版。(凡是我网所转载之文章,文中所有文字内容和图片视频之知识产权均系原作者和机构所有。文章内容观点,与本网无关。如有需要删除,敬请来电商榷!)

3 AGV 常见减震浮动结构

(1)铰接摆动式。铰接摆动式浮动结构是应用较多的一种减震结构,如图6所示,驱动轮与安装座固定并与车体形成铰接,则驱动单元与车体间可绕铰接点1旋转摆动,实现上下方向的浮动。通过在驱动单元与车体间设置弹簧减震装置,利用弹簧力来决定驱动单元的摆动幅度。

图6 铰接摆动式详细结构图

图7 铰接摆动式结构的受力图

该类结构的驱动轮支承力与弹簧反力间存在力臂的关系(如图7所示),在需要获得一定的驱动轮支承力下,实际弹簧所需的弹力比驱动轮支承力更小。然而,浮动量刚好相反,在驱动单元需要获得一定的浮动量时,弹簧的压缩量需要比驱动单元浮动量的更大。

基于上述特性,铰接摆动式浮动结构比较适用于大载荷、空间充足的AGV轮系布局上。力臂有效减小弹簧所需的刚度,但对摆动空间具有一定的要求。

图8 铰接摆动式结构的双向差异性

当AGV在坡道中行走时,其坡道方向如图8的上图所示,其驱动轮支承力与摆动铰接点间力臂长度相比另一方向(图8的下图)的要短。在弹簧的压缩量一定时,即弹簧反力一定下,图8上图的驱动轮支承力更大,在AGV负载较大时,应当注意验算驱动轮载荷是否处于额定范围内。

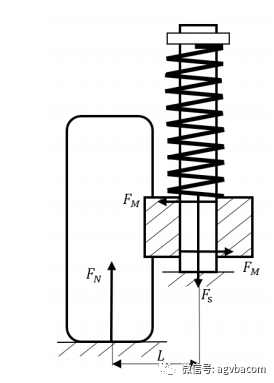
(2)垂直导柱式。垂直导柱式浮动结构是通过驱动轮与安装座固定,安装座中设置有导套与导杆形成移动副,导杆上设置有压力弹簧的一种减震结构。驱动单元通过导柱导套副实现上下浮动,压力弹簧在垂直方向上给驱动单元提供竖直的反力。

图9 垂直导柱式详细结构图

该结构应当合理布置导柱与驱动轮间的位置关系,如图10所示,为避免因力分配不均匀的原因导致导柱与导套间产生力矩,应将两导柱相对驱动轮触地点居中布置。若导柱没有居中放置,两边的弹簧反力并不相等,造成反力较大一端压缩量较多,反力较小一端压缩量较小,此时,导柱与导套间必然会产生力矩使移动副发生卡滞。

为进一步防止导柱与导套间发生卡滞,如图11所示,两导柱的中心连接线应处于驱动轮宽中心。如图12所示,当两导柱的中心连接线偏离驱动轮宽中心时,驱动轮的支承力与弹簧反力间存在力矩的力臂,在导套与导柱的配合面上必定产生对顶力,使移动副发生卡滞。

图10 垂直导柱式结构的受力图

图11 导柱布局形式

图12 导柱偏移的受力情况

整体而言,垂直导柱式浮动的结构占用体积较小、结构简单。从成本方面而言,是较为经济的一种减震结构,比较适用于对空间具有限制的轻中载轮系布局。

导柱的受扭卡滞是该结构的局限点,为解决该问题,应当合理布局导柱与驱动轮的相对位置关系。在此同时,增加导柱与导套的配合长度,可有效减小因受扭产生的对顶力,减小导柱导套的卡滞概率外,避免导柱受扭弯曲变形的可能。

(3)剪叉式。剪叉式浮动结构是基于剪叉举升结构所延申出来的一种减震结构。其中包含了剪叉式举升结构的上下托架,中间通过剪叉进行连接并在两托架中间设置有减震弹簧。

该结构的减震浮动型式与剪叉式举升相同,在遇到路面不平整时,下托架会垂直向上压缩并靠近上托架,同时,下托架与上托架间水平方向也会发生位移。

由于剪叉结构在高度空间的占用较大,此减震结构更多的是适用于差速单元模块。其中,剪叉结构的中间部分的空间可以被有效利用,差速驱动模块在包含路面适应功能外,其单元模块还具备相对车体旋转的转向功能以提高AGV的转向性能。因此,关于转向的结构完全可以放置于剪叉结构的中间空间,以使得在具备减震以及转向功能的同时节省更多的空间。

图13 剪叉式浮动详细结构图

图14 剪叉式浮动详细结构图

热点资讯
推荐图文

关注官方微信

手机扫码看新闻