您好,
欢迎访问
无人系统网
!
帐号管理
收藏夹
退出
消息
0
请登录
免费注册
手机关注
微信号:youuvs
关注官方微信
m.youuvs.com
手机扫码看新闻
我的办公室
销售
发布产品
管理产品
求购
发布求购
管理求购
添加收藏
关于我们
广告服务
广告服务
关键词排名
会员升级
帮助中心
常见问题
买家帮助
卖家帮助
问题反馈
网站导航
资讯
公司
产品
品牌
采购
展会
视频
资讯
资讯
公司
产品
品牌
采购
展会
视频
搜索
发布询价单
首页
资讯
公司
产品
品牌
采购
展会
视频
地图
工业机器人
服务机器人
特种机器人
军事机器人
无人船
无人汽车
无人机
人工智能
物联网
前沿技术
无人系统
工业机器人
服务机器人
特种机器人
军事机器人
无人船
无人地面车辆
无人汽车
无人机
人工智能
物联网
前沿技术
您的位置:
首页
>
资讯 搜索
关键字:
专利
(
共
108
条|
3
/
8
页
)
首页
资讯
行业专家
排序方式
按时间
按人气
最新资讯
我网原创
视频资讯
展会资讯
公司动态
佳能消费级无人机
专利
,大疆可能将遇到强劲对手
之前佳能被曝出已经申请了消费级无人机
专利
,产品或将在三年内上市。在消费级无人机市场称霸的大疆可能将遇到强劲对手。佳能之前已经推出过工业级无人机产品。从...
无人机
作者:电子发烧友
2020-10-11 11:29
工研院研发无人搬运车技术荣获
专利
肯定
工研院服科中心研发无轨无人搬运车于2020物流展大放异彩。图/傅秉祥工业技术研究院服务系统科技中心(服科中心)执行经济部计画研发的「无轨无人搬运车解决方案」已获得多项
专利
技术肯定,服科中心研...
行业资讯
作者:工商时报
2020-09-27 15:13
亚马逊无人机再传新
专利
:直接从空中“降落”包裹
对于亚马逊无人机
专利
的申请,相信业内已经是司空见惯里。隔那么一段时间,我们总能看见亚马逊曝出一个又一个的无人机
专利
。亚马逊最新提交的
专利
申请中,在地面...
无人机
作者:第一科技0
2020-09-27 11:04
Guident公司申请新
专利
,可改进自动驾驶汽车和无人机的远程操作
据外媒报道,Guident公司宣布将申请一项新
专利
,其中涉及提升其自动驾驶汽车和地面交付无人机的远程监控技术。该公司是利用人工智能算法为自动驾驶汽车和地面交...
无人系统
作者:余秋云
2020-09-23 14:34
GreyOrange
专利
技术可为零售商实现全渠道配送的未来
中国AGV网新闻中心援引外媒消息报道,近日,利用人工智能和机器学习来优化履约运营的全球软件和移动机器人提供商GreyOrange,宣布了新的技术
专利
,这些技术对于...
无人系统
作者: Tim
2020-09-12 22:09
迪斯尼新
专利
曝光:用无人机来制作创意表演元素之空中表演系统
(图源网络,侵删)迪斯尼(Disney)近年也相当拥抱无人机技术,除了用无人机光影涂鸦来取代烟火表演、开发涂鸦无人机之外,近日也取得一项名为「使用无人机力量...
无人机
作者:无人机学堂
2020-09-09 10:32
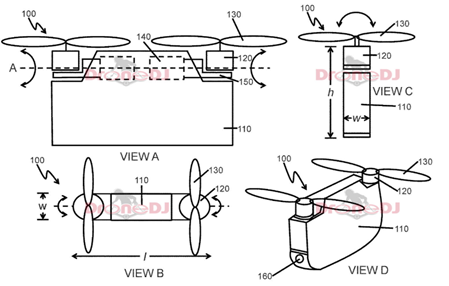
或为大疆Mavic 2升级 大疆公布新款无人机
专利
大疆近日公布了一则
专利
图,从外观上判断或许为新一代Mavic系列产品,以作为现款大疆Mavic 2的升级。据称,新的无人机将拥有全新升级的相机和电池,同时也将增加...
无人机
作者:蜂鸟网
2020-08-11 09:25
优必选科技再获中国
专利
奖
7月14日,国家知识产权局公布了第二十一届中国
专利
奖授奖决定,优必选科技的机器人
专利
获中国外观设计银奖。此前,优必选科技还荣获第二十届中国
专利
金奖和中国外观设计银奖。悟空机器人参加第二十...
企业动态
作者:优必选科技
2020-07-18 09:31
原创
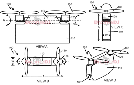
专利
局公布大疆双旋翼无人机框架设计
【无人机网援引外媒资讯】 大疆公司申请了两项无人机
专利
设计,一款是双翼直升机,另一款可能是FPV或赛车风格的新四旋翼无人机。图纸上显示的是一个长方形的双...
无人机
作者:雨歌
2020-07-13 20:22
原创
国家
专利
局公布了大疆新的双旋翼及四旋翼无人机框架设计
【无人机网援引外媒资讯】 大疆公司申请了两项无人机
专利
设计,一款是双翼直升机,另一款可能是FPV或赛车风格的新四旋翼无人机。图纸上显示的是一个长方形的双...
无人机
作者:雨歌
2020-07-10 20:44
奥林巴斯无人机
专利
曝光准备抢大疆的生意?
近日,奥林巴斯放出了一款航拍无人机
专利
,这款无人机将会配备更大的传感器和可变焦高质量镜头,从
专利
描述来看奥巴的无人机主打画质,不过
专利
中并未标明传感器...
行业动态
作者:航拍网
2020-06-26 09:27
大疆新技术
专利
陆续曝光 相机可防撞无人机能通过磁铁降落
虽然许多科技巨头公开全新的技术
专利
并不一定就表示这些新技术一定会投入商用领域,不过从中我们也能看到一些新品的发展趋势。这个月大疆就陆续展示了一系列技术...
行业动态
作者:ITheat热点科技
2020-06-23 15:32
无人机
专利
缘何被宣告无效?
隔江对垒,互不相让。”近两年来,伴随消费级无人机行业的迅速发展和竞争加剧,相关企业之间的知识产权交锋不断,其中,深圳市大疆创新科技有限公司(下称大疆公...
行业动态
作者:姜旭
2020-06-18 09:11
喜讯 | 博众荣登江苏制造业企业发明
专利
百强榜榜首
近日,江苏制造业企业发明
专利
百强榜揭晓,苏州共有44家企业上榜。其中,博众以有效发明
专利
773件,位列榜单第一。能走会动、自带摄像头和红外体温监测,这是博众专门针对疫情防控开发的安防机器人...
企业动态
作者: BOZHON
2020-06-09 20:17
无人机、VR技术加入城市管理 郑州城管局表彰创新
专利
映象网快讯(记者 阮海峰 文/图 实习生 郁晴)热力长输管线无人机巡检、燃气捡漏机器人、锅炉VR操作系统、自来水滤池自动除沫装置、污水泵自控改造、手持式...
无人机
作者: 阮海峰
2020-05-30 16:22
共
108
条|
3
/
8
页
首页
上一页
1
2
3
4
5
下一页
末页
热点资讯
1
全球生成式人工智能监管加速:从“原则框架”走向“可执行义务”
2
卢森堡加码自动驾驶卡车:争做欧洲干线物流新枢纽
3
世界头部商超 I 台湾仓库里的 “小黄人”:让低温仓的夜班,终于不用硬扛了
4
Galbot获超3亿美元融资:具身智能迈向规模化部署
5
中国AOPA与内蒙古民航机场集团公司 签订战略合作协议
6
博伦思导航 | 重磅发布:双光地景匹配+MEMS惯性组合导航系统
7
深耕时尚8年,快仓如何用机器人“熨平”物流褶皱,赋能品牌增长?
8
“零尾排”不等于“低排放”,为何氢燃料电池在部分情境下可能比柴油更“高排放”?
9
无人机、柴油与政策:两个国家,两种农业未来
推荐图文
视频资讯
更多>>
MiR 2021 | 一睹MiR全球团队风采
原材料储存 | 实现整个制造和仓库环境中的物料运输工作流程自动化
李德仁院士莅临立得空间考察指导
无人车在展台上动起来?探秘行深智能2021世界人工智能大会
镭神智能3D SLAM高精度AGV导航方案最新突破--达到毫米级业界新高度
超声波技术系列【一】| 工作原理
最新资讯
更多>>
喜报丨AiTEN入选苏州知识产权成长型企业!
凯乐士中东首秀丨东方智造点亮“沙漠”智慧物流新未来
【喜报】苏州中飞遥感技术服务有限公司入选江苏省首批数据企业培育库
驼航科技领投方金雨茂物和元航资本上榜航空航天投资机构20强
重大消息!优必选拟以16.65亿收购锋龙股份
中科云图获评央广财经2025年度“金顶”优秀案例
时代星光与世家炫彬签署战略合作协议,共创低空经济新篇章
哈曼拟以15亿欧元收购采埃孚ADAS业务
关注官方微信
手机扫码看新闻