您的位置:首页 > 资讯 > 无人机 > 正文

迪斯尼新专利曝光:用无人机来制作创意表演元素之空中表演系统

2020-09-09 10:32 性质:转载 作者:无人机学堂 来源:企鹅号
免责声明:无人系统网(www.youuvs.com)尊重合法版权,反对侵权盗版。(凡是我网所转载之文章,文中所有文字内容和图片视频之知识产权均系原作者和机构所有。文章内容观点,与本网无关。如有需要删除,敬请来电商榷!)
(图源网络,侵删)迪斯尼(Disney)近年也相当拥抱无人机技术,除了用无人机光影涂鸦来取代烟火表演、开发涂鸦无人机之外,近日也取得一项名为「使用无人机力量...

(图源网络,侵删)

迪斯尼(Disney)近年也相当拥抱无人机技术,除了用无人机光影涂鸦来取代烟火表演、开发涂鸦无人机之外,近日也取得一项名为「使用无人机力量来制作创意表演元素的空中表演系统」专利。

专利名为「使用无人机力量来制作创意表演元素的空中表演系统」

(图源网络,侵删)

7月底获批专利权

由迪斯尼(Disney Enterprises, Inc.)于2019年9月3日提交的专利——「使用无人机力量来制作创意表演元素的空中表演系统」(Aerial Show System Using Unmanned Aerial Vehicle Energy To AnimateCreative Show Element),在今年7月28日正式获得批出专利权。

实现了无人机的动态表演参与

(图源网络,侵删)

实现无人机动态表演参与

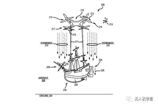
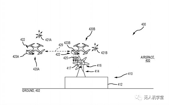
该专利摘要指出:「一个空中表演系统,包括无人飞行器、无人机上的表演系统、非无人机或「地面」表演系统,以及全球地面控制系统。该控制系统配置会在演出期间主动追踪无人机的运作,并做出反应以使无人机真正成为大型演出的一部分。该系统通过分布式表演系统实现了无人机的动态表演参与,分布式表演系统可以包括其他无人机和地面上的非UAV表演系统,但可以启动并在空域中提供效果,期间无人机会飞行。」

无人机可被用来带动战舰升空

(图源网络,侵删)

控制系统追踪无人机操作

该地面控制系统会追踪表演空间内的无人机,以确保它们正确执行所需的操作,以及完成指示的任务。从当中举例的绘图可见,无人机可被用来带动战舰升空,同时使用其向下气流推动一些道具,从而产生更逼真的效果。

热点资讯
推荐图文

关注官方微信

手机扫码看新闻