您好,
欢迎访问
无人系统网
!
帐号管理
收藏夹
退出
消息
0
请登录
免费注册
手机关注
微信号:youuvs
关注官方微信
m.youuvs.com
手机扫码看新闻
我的办公室
销售
发布产品
管理产品
求购
发布求购
管理求购
添加收藏
关于我们
广告服务
广告服务
关键词排名
会员升级
帮助中心
常见问题
买家帮助
卖家帮助
问题反馈
网站导航
资讯
公司
产品
品牌
采购
展会
视频
资讯
资讯
公司
产品
品牌
采购
展会
视频
搜索
发布询价单
首页
资讯
公司
产品
品牌
采购
展会
视频
地图
工业机器人
服务机器人
特种机器人
军事机器人
无人船
无人汽车
无人机
人工智能
物联网
前沿技术
无人系统
工业机器人
服务机器人
特种机器人
军事机器人
无人船
无人地面车辆
无人汽车
无人机
人工智能
物联网
前沿技术
您的位置:
首页
>
资讯 搜索
关键字:
专利
(
共
108
条|
6
/
8
页
)
首页
资讯
行业专家
排序方式
按时间
按人气
最新资讯
我网原创
视频资讯
展会资讯
公司动态
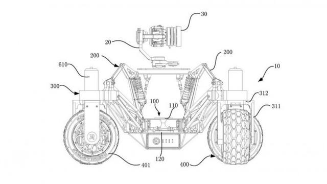
大疆全新“相机车”
专利
曝光:车身可调,超强防抖
近日大疆一项名为“Vehicle”的新
专利
曝光,这是一个类似于可以搭载万向支架的RC车。
专利
描述的是类似于一辆顶部装有摄像头的机动漫游车。根据
专利
说明,这辆车...
无人机
作者:环球网
2019-12-24 19:43
从天空到陆地:DJI
专利
披露摄像遥控车想法
据外媒报道,大疆(DJI)最出名的产品当然要属无人机了,但这家公司未来受欢迎的另一个原因可能会是遥控摄像车。跟无人机类似的是,这种陆基交通工具将让操作员能...
企业动态
作者:cnBeta
2019-12-21 11:53
IBM申请区块链
专利
,以阻止无人机窃取包裹
文 容与亚马逊(Amazon)、DHL和联邦快递(FedEx)正在制造无人机,将包裹送到用户门口。然而,IBM发现,无人机将可能窃取它们。IBM的解决方案是为包裹配备物联网传...
无人机
作者:容与
2019-11-30 12:45
成果推介会+机器人大赛+
专利
拍卖会海科展打通产学研引领科技成果转化
2019年中国科学院
专利
成果拍卖会上,16项
专利
成功找到“婆家”,并现场签约;“蓝色海洋”技术成果推介会上,21家科技企业集中发布相关技术和成果;国际水中机器...
行业资讯
作者:东方财富网
2019-10-09 16:24
出海遭遇“
专利
流氓”国产无人机漂亮反击
近日,深圳市大疆创新科技有限公司(以下简称大疆)在美国打了两年多的一个无人机
专利
官司,终于有了新眉目。两年前,美国得克萨斯州,大疆无人机被一家叫...
行业资讯
作者:新华网客户端
2019-08-21 09:32
构筑
专利
壁垒,这家美国公司妄图“垄断”无人机最后一厘米的交付
无人机网(www.youuav.com)新闻中心消息,早在今年4月,总部位于美国芝加哥的初创公司--Valqari,就凭借其
专利
的Smart Drone Delivery Mailbox技...
行业资讯
作者:Pengli
2019-08-16 15:12
沃尔玛申请区块链的无人机
专利
可在克隆无人机上部署相同软件
据Coindesk 8月14日报道,最近,零售巨头沃尔玛又申请一项基于区块链的无人机
专利
。(来源:Pixabay)美国
专利
商标局透露,沃尔玛在2019年1月......
行业资讯
作者:William Foxley
2019-08-16 14:22
沃尔玛申请区块链
专利
:用于无人机通讯系统
美国零售业巨头沃尔玛(Walmart)已经提交了一项基于区块链技术的无人机通信系统的
专利
申请。沃尔玛于8月1日向美国
专利
商标...
行业资讯
2019-08-16 14:09
美国零售业巨头沃尔玛为区块链无人机通信系统申请
专利
美国零售业巨头沃尔玛已经提交了一项基于区块链技术的无人机通信系统
专利
申请。沃尔玛于8月1日向美国
专利
商标局(USPTO)提交了...
企业动态
作者:天天头条
2019-08-15 16:24
25岁学霸创业研发机器人 团队获30个
专利
,公司估值5000万
近日,一个哈尔滨工业大学的90后学霸团队凭借研发机器人吸引了网友们的目光,25岁的李蕴洲正是这个团队的领导者。虽然还是哈尔滨工业大学的在读研究生,但他已是玄智科技有限公司的创立者...
行业资讯
作者:中国经济网
2019-06-05 08:58
京东物流连获全国性
专利
大奖!!解码智能物流背后的技术基因
用技术研发推动物流行业革命,
专利
创新成为京东物流引领智能物流行业发展的又一个重要标志。日前在第二十届中国
专利
奖颁奖大会上,由京东物流自主研发设计的末端物流配送Y3无人机获得中国外观设计
专利
银奖
行业资讯
作者:京东物流
2019-01-04 13:09
从工业机器人申请
专利
数量,看中国离制造强国还有多远
导读目前,国产工业机器人发展时间较短,尚处于起步阶段,量产时间不过八年。据了解,国产工业机器人技术比国外领先的工业机器人四大家族落后15年内左右,即使和国外的二流企业相比,也要落...
行业资讯
作者:中国工控网
2019-01-04 08:44
苏州粮库机器人 获两项
专利
记者从市粮食部门了解到,苏州国家粮食储备库联合科技企业研发的“智能仓储保管巡检机器人”,于近日成功获得两项实用新型
专利
。目前,这台高科技机器人已在国储库库区执行粮情...
行业资讯
作者:姑苏晚报
2018-12-01 12:06
中国工业机器人
专利
数超9万件 下游应用领域结构调整
中商情报网讯:智能装备是高端装备的核心,是制造装备的前沿和制造业的基础,已成为当今工业先进国家的竞争目标,制造业的重点发展方向和信息化与工业化深度融合的重要体现,发展智能装备...
行业动态
作者:中商情报网
2018-09-06 07:02
专利
金奖——恭喜艾吉威又双叒叕获权威认可!
7月11日江苏省机械行业协会在苏州召开“江苏机械工业推进高质量发展暨省机械行业协会二届二次会员代表大会”。会议在王云秘书长的主持下,苏州市领导作重要讲话,李春江会长对2017年省机械行...
企业动态
作者:艾吉威
2018-07-13 16:47
共
108
条|
6
/
8
页
首页
上一页
4
5
6
7
8
下一页
末页
热点资讯
1
全球生成式人工智能监管加速:从“原则框架”走向“可执行义务”
2
卢森堡加码自动驾驶卡车:争做欧洲干线物流新枢纽
3
世界头部商超 I 台湾仓库里的 “小黄人”:让低温仓的夜班,终于不用硬扛了
4
Galbot获超3亿美元融资:具身智能迈向规模化部署
5
中国AOPA与内蒙古民航机场集团公司 签订战略合作协议
6
博伦思导航 | 重磅发布:双光地景匹配+MEMS惯性组合导航系统
7
深耕时尚8年,快仓如何用机器人“熨平”物流褶皱,赋能品牌增长?
8
“零尾排”不等于“低排放”,为何氢燃料电池在部分情境下可能比柴油更“高排放”?
9
无人机、柴油与政策:两个国家,两种农业未来
推荐图文
视频资讯
更多>>
MiR 2021 | 一睹MiR全球团队风采
原材料储存 | 实现整个制造和仓库环境中的物料运输工作流程自动化
李德仁院士莅临立得空间考察指导
无人车在展台上动起来?探秘行深智能2021世界人工智能大会
镭神智能3D SLAM高精度AGV导航方案最新突破--达到毫米级业界新高度
超声波技术系列【一】| 工作原理
最新资讯
更多>>
喜报丨AiTEN入选苏州知识产权成长型企业!
凯乐士中东首秀丨东方智造点亮“沙漠”智慧物流新未来
【喜报】苏州中飞遥感技术服务有限公司入选江苏省首批数据企业培育库
驼航科技领投方金雨茂物和元航资本上榜航空航天投资机构20强
重大消息!优必选拟以16.65亿收购锋龙股份
中科云图获评央广财经2025年度“金顶”优秀案例
时代星光与世家炫彬签署战略合作协议,共创低空经济新篇章
哈曼拟以15亿欧元收购采埃孚ADAS业务
关注官方微信
手机扫码看新闻