您的位置:首页 > 资讯 > 无人机 > 正文

索尼正在悄悄开发“飞行相机”无人机

2020-02-05 12:14 性质:原创 作者:Bill 来源:无人机网
免责声明:无人系统网(www.youuvs.com)尊重合法版权,反对侵权盗版。(凡是我网所转载之文章,文中所有文字内容和图片视频之知识产权均系原作者和机构所有。文章内容观点,与本网无关。如有需要删除,敬请来电商榷!)
无人机网援引外媒消息称,在过去的几年中,索尼一直在悄悄研发“飞行照相机”无人机并申请了专利。尽管对该项目知之甚少,但已发布的专利(标题为“飞行照相机和...

无人机网援引外媒消息称,在过去的几年中,索尼一直在悄悄研发“飞行照相机”无人机并申请了专利。尽管对该项目知之甚少,但已发布的专利(标题为“飞行照相机和系统”)揭示了该设备的一些有趣功能。

索尼最近提交了另一项专利(美国20200036901A1),于2019年10月提交,并于2020年1月发布,其中提供了有关设计和功能的更多详细信息。

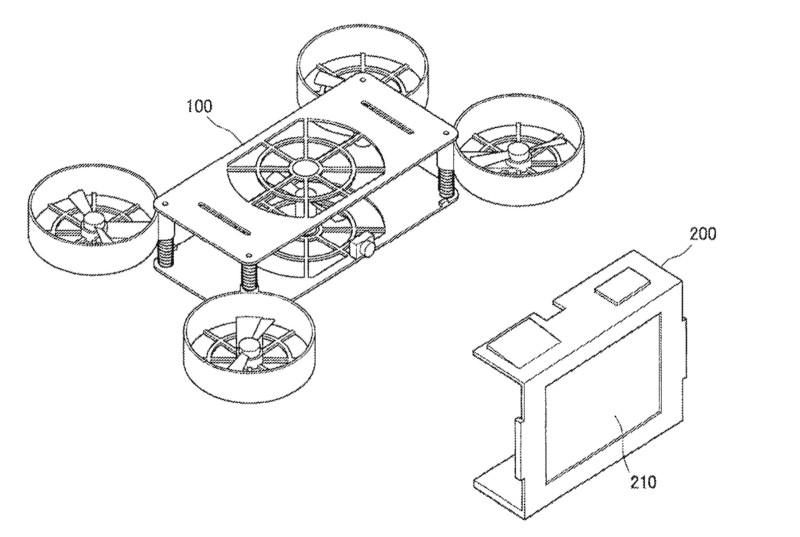
当无人机折叠起来并放在其“外壳”中时,它具有体积庞大的紧凑型相机的外形。

要让无人机飞起来,首先要取下后盖,事实证明这是无人机的遥控器和显示器。转子在四个角旋转出无人机机身。

可以通过控制器触摸屏上的手指手势来控制无人机。例如,智能手机上普遍存在的“捏到缩放”手势,用于放大和缩小照片,这可能会使无人机离它所关注的对象更近或更远:

而且用手指“转动”屏幕上的物体可能会控制无人机沿着轨道飞行:

当您需要拍摄集体照时,您只需让无人机从您的手掌中自动发射,飞行一段短距离,捕获构图精美的集体照,然后返回您的手掌即可。

与所有这种性质的专利一样,我们无法保证所显示的是任何会投放市场并可供公众使用的东西。但是有一天它有可能实现,而且很有趣地发现索尼可以酿造出与DJI消费级无人机巨头相抗衡的产品。

网友评论
文明上网,理性发言,拒绝广告

相关资讯

推荐图文

关注官方微信

手机扫码看新闻