您的位置:首页 > 资讯 > 无人机 > 正文

索尼无人机专利再曝光 看样子是要来真的

2020-02-04 17:01 性质:转载 作者:PChome电脑之家 来源:搜狐
免责声明:无人系统网(www.youuvs.com)尊重合法版权,反对侵权盗版。(凡是我网所转载之文章,文中所有文字内容和图片视频之知识产权均系原作者和机构所有。文章内容观点,与本网无关。如有需要删除,敬请来电商榷!)
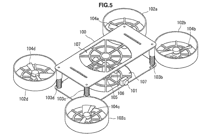
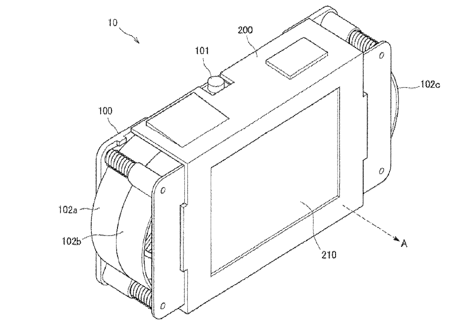
去年10月,一份曝光的专利显示,索尼正在研究无人机方面的技术,该专利描述了一种可折叠的无人机。机盖部分配备触摸屏,并且可拆卸,相机拥有Alpha系列的传感器...

去年10月,一份曝光的专利显示,索尼正在研究无人机方面的技术,该专利描述了一种可折叠的无人机。机盖部分配备触摸屏,并且可拆卸,相机拥有Alpha系列的传感器技术,支持自动对焦和“ Eye-AF”功能区。但由于只是概念性的专利,可能只是为了技术储备,短时间内应该不会有产品面世。

索尼无人机专利文件

索尼无人机专利文件

但是,近日美国专利局公布的又一份文件显示,索尼更详细的介绍了这款无人机的工作原理,它将支持手势控制。

频频曝光的专利文件,或许意味着大法要来真的了,SONY牌的无人机,应该会很香吧?不过面对DJI在无人机领域的强势地位,索尼或许还有其它杀手锏。

(图片来自sonyalpharumors)

热点资讯
推荐图文

关注官方微信

手机扫码看新闻