您的位置:首页 > 资讯 > 无人机 > 正文

发明授权专利:可拆卸安全电池系统及方法、手机、汽车、电脑、无人机

2020-01-22 17:16 性质:原创 作者:Lvcoco 来源:无人机网
免责声明:无人系统网(www.youuvs.com)尊重合法版权,反对侵权盗版。(凡是我网所转载之文章,文中所有文字内容和图片视频之知识产权均系原作者和机构所有。文章内容观点,与本网无关。如有需要删除,敬请来电商榷!)
无人机网(www.youuav.com)数据中心援引国家知识产权局的专利数据称,发明授权专利:可拆卸安全电池系统及方法、手机、汽车、电脑、无人机,授权公告日:2019.1...

无人机网(www.youuav.com)数据中心援引国家知识产权局的专利数据称,发明授权专利:可拆卸安全电池系统及方法、手机、汽车、电脑、无人机,授权公告日:2019.11.19,授权公告号:CN109920968B,申请号:2019102001872,专利权人:新昌县鼎瑞科技有限公司。

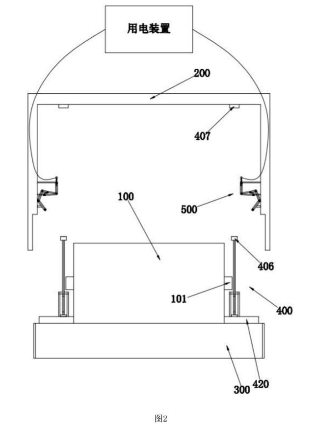
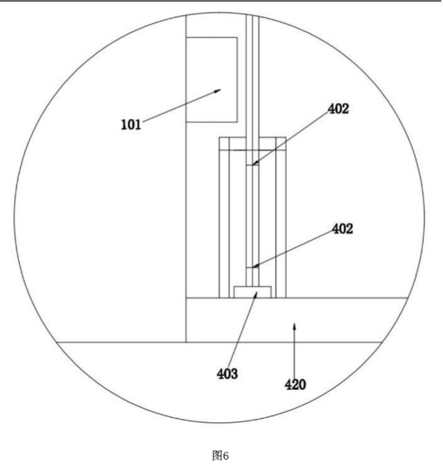
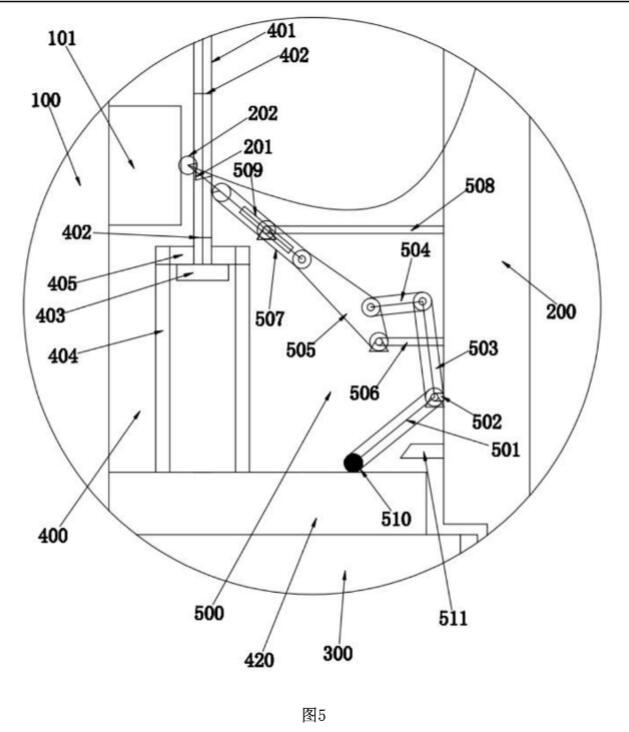
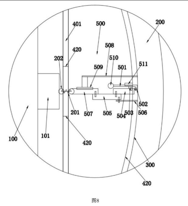
在这份发明专利中,描述了一种可拆卸的安全电池系统包括电池(100)、电池仓(200)、托盘(300)、盖板部(400),其在所述托盘(300)未与所述电池仓(200)完全螺纹连接时,通过盖板(401)遮挡所述电极(101),使电极(101)与所述触点(202)未连接;其在所述托盘(300)与所述电池仓(200)完全螺纹连接时,通过盖板(401)上的第一通孔(402)使电极(101)与触点(202)连接。

该发明通过上述方式可将电池(100)可通过螺纹的自锁能力将电池(100)与电池仓(200)固定,并在拆卸下电池时,通过盖板部(400)遮挡住电极(101),从而避免出现两个电极(101)被意外地链接起来,而发生火灾、爆炸等现象,从而让换电池更加安全和方便。

普通电池通常在使用时存在着重大的安全隐患,在电池的两个电极之间,哪怕连通一个微波的电阻都会产生爆炸的现象。这也是为什么现在越来越多的手机、笔记本电脑、电动汽车无法更换电池的原因。因为电池的白拆卸容易触发两个电极之间连通出微波的电阻,而使整个房间爆炸。

因此,如何避免两个电极之间的连通而避免爆炸,成了目前一个亟需解决的问题。

该发明要解决的技术问题是提供一种避免两个电极之间的连通而避免爆炸的一种可拆卸的安全电池系统。

该发明一种可拆卸的安全电池系统,包括电池,其两端均设有电极;

电池仓,其下端设有螺纹,其内表面通过第一弹簧设有与电极连接的触点,触点与用电装置电连接;

托盘,其圆周面与电池仓螺纹连接,其上表面用于固定电池;

盖板部,其在托盘未与电池仓完全螺纹连接时,通过盖板遮挡电极,使电极与触点未连接;其在托盘与电池仓完全螺纹连接时,通过盖板上的第一通孔使电极与触点连接。

该发明一种可拆卸的安全电池系统的拆卸方法,包括如下步骤:

在托盘未与电池仓安全螺纹连接时,通过盖板遮挡电极,使电极与触点未连接;

该发明一种手机,其中利用可拆卸的安全电池系统。

该发明一种电动汽车,其中利用可拆卸的安全电池系统。

该发明一种笔记本电脑,其中利用可拆卸的安全电池系统。

该发明一种电动无人机,其中利用可拆卸的安全电池系统。

该发明一种可拆卸的安全电池系统与现有技术不同之处在于该发明一种可拆卸的安全电池系统通过上述方式可将电池可通过螺纹的自锁能力将电池与电池仓固定,并在拆卸下电池时,通过盖板部遮挡住电极,从而避免出现两个电极被意外地链接起来,而发生火灾、爆炸等现象,从而让换电池更加安全和方便。

用电设备中,即便快充再发达,但都不如直接换一块新电池来的直接和有效。但是在手机、电脑、尤其是电动汽车中,换电池容易发生爆炸的现象。

因此,该发明将拆卸下的电池的两个电极通过盖板遮盖住而实现安全还电池,保护了人民群众的财产安全。

图1:一种可拆卸的安全电池系统的第一状态的主视图

图2:一种可拆卸的安全电池系统的第二状态的主视图

图3:是图1的俯视图

图4:是图2的一种变形结构的示意图

图5:是图1的局部放大图

图6:是图2的第一位置的局部放大图

图7:是图2的第二位置的局部放大图

图8:是图3的第一位置的局部放大图

图9:是图3的第二位置的局部放大图

热点资讯
推荐图文

关注官方微信

手机扫码看新闻