您的位置:首页 > 资讯 > 无人机 > 正文

发明授权专利: 基于机器视觉的光伏电站巡检清洁无人机及其清洁方法

2020-01-14 19:34 性质:原创 作者:Lvcoco 来源:无人机网
免责声明:无人系统网(www.youuvs.com)尊重合法版权,反对侵权盗版。(凡是我网所转载之文章,文中所有文字内容和图片视频之知识产权均系原作者和机构所有。文章内容观点,与本网无关。如有需要删除,敬请来电商榷!)
无人机网(www.youuav.com)数据中心援引国家知识产权局的专利数据称,在这份发明专利中,描述了一种基于机器视觉的光伏电站巡检清洁无人机,包括无人机和安装在无...

无人机网(www.youuav.com)数据中心援引国家知识产权局的专利数据称,在这份发明专利中,描述了一种基于机器视觉的光伏电站巡检清洁无人机,包括无人机和安装在无人机上的装置;图像获取装置包括红外热成像相机、彩色可见光相机、黑白可见光相机和自由云台;姿态感知装置获得无人机的姿态信息;污染物清理装置包括清洁剂存储箱、气泵、水泵、活动机械臂和污染物清洁器;减震履带底盘由固定架、固定架末端的减震装置和连接于固定架两端的履带动力装置组成;自主控制器通过机器视觉技术对太阳能电池板表面的污迹和内部热斑故障,进行识别和决策;并调整自身姿态。本发明利用无人机和机器视觉技术,自主完成光伏阵列巡检、热斑故障检查、表面污染物识别及清理,省去光伏电站运行维护大量耗费的人力物力。 

太阳能发电是缓解能源危机的有效途径之王,对人类社会可持续发展具有重要意义。众所周知,初投资高是限制太阳能发电普及事迹的重要因素。因此,如何延长太阳能光伏电站的使用寿命,使光伏电站保持长期稳定的高效率运作,提高光伏系统的经济效益,在光伏研究领域备受关注。

现有的光伏发电系统中,光伏陈列的使用环境恶劣,长期受到灰尘、雨雪、杂物的侵袭,极易产生故障,严重影响了发电效率。由于光伏电站选址多在偏远地区,面积大范围广,且各光伏陈列间距不一,地形复杂,采用人力清洁或人工控制机械清洁效率普遍较低,目前还没有一种高度自动化的清理方式。

小型无人机发展迅速,现已普遍应用于配合监测设备或者自然环境,如输电线路检查、油气管道监测、污染和环境监测、灾害监测和预警等方面。现在已有无人机用于大型光伏电站巡检,但无法对监测到的污染物进行主动清洁,且对人工控制决策的依赖度较大,仍需大量人力来操控和监视。

该发明解决的技术问题是:提供一种基于机器视觉的光伏电站巡检清洁无人机及其清洁方法,节省光伏电站运行维护的人力、物力,并能够精确清洁污染物

本发明一实施例的结构示意图

图中:1-顶层固定板,2-中层固定板,3-底层固定板,4-信号天线,5-履带动力装置,6-污染物清理装置,7-固定架

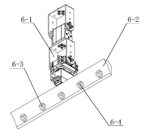
本发明一实施例的组合式污染物清理装置结构示意图

图中:6-1-活动机械臂,6-2-刮板,6-3-雾化喷头,6-4-高压吹气口。

本发明一实施例的方法流程图

按上述方法,在清洁时,包括三种清洁模式:第一级,高压吹气口释放气体,吹离污染物;第二级,当第一级后若污染物依然存在,则雾化喷头释放清洁剂气雾,由刮板刮除污染物;第三级,当第二级后若污染物依然存在,则高压吹气口、雾化喷头和刮板三个组件同时作用。

网友评论
文明上网,理性发言,拒绝广告

相关资讯

热点资讯
推荐图文

关注官方微信

手机扫码看新闻