您的位置:首页 > 资讯 > 无人机 > 正文

发明授权专利:无人机及其巡检方法

2020-01-08 20:24 性质:原创 作者:Lvcoco 来源:无人机网
免责声明:无人系统网(www.youuvs.com)尊重合法版权,反对侵权盗版。(凡是我网所转载之文章,文中所有文字内容和图片视频之知识产权均系原作者和机构所有。文章内容观点,与本网无关。如有需要删除,敬请来电商榷!)
无人机网(www.youuav.com)数据中心援引国家知识产权局的专利数据称,在这份发明专利中,描述了一种无人机及其巡检方法,用于检修电缆,包括:飞控设备箱,呈中空...

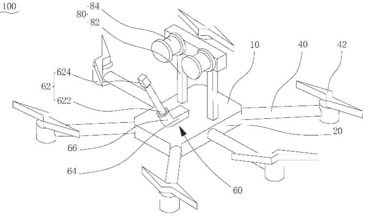
无人机网(www.youuav.com)数据中心援引国家知识产权局的专利数据称,在这份发明专利中,描述了一种无人机及其巡检方法,用于检修电缆,包括:飞控设备箱,呈中空壳体结构;飞行装置,安装于所述飞控设备箱,包括可转动的旋翼;搭接装置,安装于所述飞控设备箱,搭接装置包括搭接件,搭接件一端设有抵持部,搭接件可相对所述飞控设备箱转动,以使所述抵持部抵持并电连接于所述电缆。

上述无人机,可通过搭接装置电连接于电缆,从而实现了无人机在巡检过程中与导线实时等电位连接,降低了无人机在带电作业过程中由于与电缆的电位差导致的放电而带来的损坏风险,提高带电作业效率。

目前,通常采用智能化的无人机带电作业来取代人工作业,该无人机能够在架空线路上稳定飞行、降落、移动作业,但由于无人机与电缆之间存在电位差,导致无人机在带电作用过程中容易由于放电而损坏。

基于此,有必要针对无人机在带电作业过程中由于放电而损坏问题,提供一种可等电位作业以避免放电导致损坏的无人机及其巡检方法。

网友评论
文明上网,理性发言,拒绝广告

相关资讯

热点资讯
推荐图文

关注官方微信

手机扫码看新闻