您的位置:首页 > 资讯 > 无人机 > 正文

发动机倒装,空客新无人机的一大设计特点堪称丧病,源于美国

2019-12-21 17:39 性质:转载 作者:兮夜军事观察 来源:搜狐
免责声明:无人系统网(www.youuvs.com)尊重合法版权,反对侵权盗版。(凡是我网所转载之文章,文中所有文字内容和图片视频之知识产权均系原作者和机构所有。文章内容观点,与本网无关。如有需要删除,敬请来电商榷!)
空客公司公布的“低可观测无人机测试平台”(LOUT)隐身无人机迅速引发关注。由于是一个不用考虑实际生产的隐身技术研究项目,所以空客设计师在设计LOUT时可以天马...

空客公司公布的“低可观测无人机测试平台”(LOUT)隐身无人机迅速引发关注。由于是一个不用考虑实际生产的隐身技术研究项目,所以空客设计师在设计LOUT时可以天马行空,任意发挥,例如LOUT虽然是无人机,却有一个类似F-22的座舱盖,此外该机的飞翼布局也比较反传统,没有采用大展弦比的W型后缘飞翼设计,而是极简主义的菱形飞翼。

近日国外航空极客们通过挖掘发现,LOUT在设计上的最脑洞之处不在外表,而是在内部。专利文件显示该机拥有极其复杂的进排气系统,并且两台发动机还是倒置的,也就是发动机进气口朝后,尾喷管朝前……

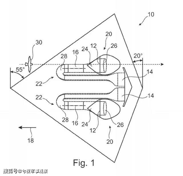
从专利图看,LOUT的两个背负式无附面层隔道进气口位于机身尾部,进气通过一根C型进气道向前进入倒置发动机,膨胀做工后再通过一根横向布置的C型排气管进入机尾后缘的偏平排气管向后喷出。

这种累赘设计由于两个发卡弯的存在,在进气和排气过程中一定存在很大推力损失,那么LOUT在付出巨大代价后又能获得哪些好处呢?

首先,由于整个进排气系统被来回折叠两次,所以其总长度相比传统设计显著缩短,对于机身长度先天就短的飞翼来说有利于内部系统的总体布局。

其次,由于进气和排气道都存在一个180度转向的发卡弯,所以更能起到遮蔽发动机正面风扇和尾部涡轮的作用,避免雷达波直射产生强烈回波。此外进气口后置还能进一步受到机身的遮蔽,降低总体RCS。

总之LOUT在设计上将隐身放到第一位,为此不惜牺牲推力。不过这种倒置发动机设计并不是LOUT首创,而是源于冷战时期的美国。

洛克希德公司在上世纪80年代末的超音速垂直起降战斗机研发热潮中是一个急先锋,在联合打击战斗机项目以及之前的各种预研项目中推出过多种垂直起降设计方案,最终导致了F-35B“闪电II”的问世。

洛克希德提出的最奇葩方案就是“铆钉”(RIVET,“倒置推力矢量发动机”的缩写),这是一种V尾隐身战斗机,在机身中部布置有一个大型弹舱。为了实现垂直起降并避免复杂的升力发动机和矢量尾喷管设计,“铆钉”将一台大推力涡扇倒置安装在机身中部,通过机背发卡弯进气道进气,再通过飞机重心附近“腋窝”部位的两个旋转喷管排气。喷管在垂直起降时旋转向下产生直接升力,水平飞行时旋转向后产生推力,于是仅通过一台倒置发动机就能实现垂直起降。

尽管“铆钉”最终没成为现实,但其倒置发动机设计显然对LOUT产生了深远影响。

热点资讯
推荐图文

关注官方微信

手机扫码看新闻