您的位置:首页 > 产品 > 工业机器人(IR) > 产品详情

RRT-SV1-BP智能型标准激光焊缝跟踪传感器

RRT-SV1-BP智能型标准激光焊缝跟踪传感器

  • 品牌:
  • 最小起订:1 
  • 供货总量:
  • 发货期限:
  • 有效期至:长期有效
  • 更新时间:2023-01-06 11:23
  • 立即询价

    加入收藏

普通商家

热门推荐

产品详情

产品参数

产品图片

特点:

RRT-SV1是一款智能型线扫描焊缝传感器,通过线激光扫描获得焊缝截面的轮廓信息,引导机器人或焊接专机自动完成焊接。在传感器内部完成图像采集、处理和焊缝识别功能,无需外部计算机,集成度高,减少系统总体硬件成本。抗弧光、抗飞溅,智能识别焊缝,操作简单。结构精致、体积小巧,可达性高,亚型丰富,可以根据应用场景选择使用,而且可以定制最适合的参数。适用于各类焊接专机和国内外机器人。

技术参数:

型号RRT-SV1-BPRRT-SV1-HARRT-SV1-LR
尺寸110*60*32mm105*70*32mm120*61*26mm
可视范围中等量程小量程、中等量程大量程
重量380g355g355g
帧率10Hz
接口12pin航插接口
通讯类型以太网/CAN总线
速度以太网1000M
工作环境温度范围0~50℃
湿度范围10~95% 无结露
激光光斑形状线形
波长650nm
功率等级IIIB
焊接适应性抗反射/抗弧光干扰

抗飞溅/抗电磁干扰

抗反射/抗环境光干扰

抗电磁干扰

类型搭接/对接/角接等,支持定制
适用工艺MAG/MIG/TIG/激光焊

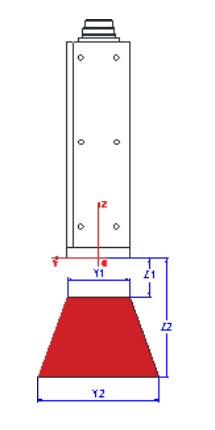
可视范围:

RRT-SV1可视范围参数表(单位: mm)